长江电力获得实用新型专利授权:“一种电碳计量表”

图片来源于网络,如有侵权,请联系删除
证券之星消息,根据天眼查APP数据显示长江电力(600900)新获得一项实用新型专利授权,专利名为“一种电碳计量表”,专利申请号为CN202422008708.3,授权日为2025年11月4日。
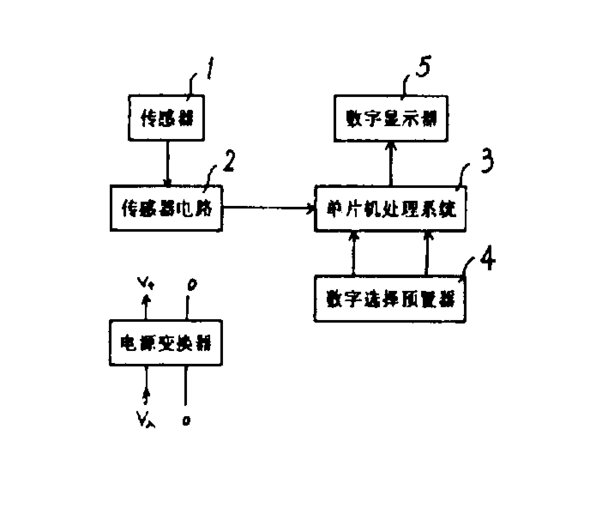
专利摘要:本实用新型提供了一种电碳计量表,包括计量表箱、箱门,清理机构和防护机构,所述计量表箱的侧壁通过合页与箱门转动连接,所述清理机构设置于箱门的外侧壁上,所述清理机构包括上支板、手柄、滑块、刮板和辅助组件,所述上支板固定安装于箱门的侧壁上方,所述箱门的侧壁设置于透明玻璃窗,所述上支板的表面开设有滑槽,所述滑槽的内壁与滑块的底端侧壁滑动连接,本实用新型通过在箱门的侧壁设置有可移动的刮板对箱门表面开设的透明玻璃窗上堆积的灰尘污渍进行刮除清理,刮板刮除后再通过清理板端部设置的清理海绵对箱门表面设置的透明玻璃窗的表面进行进一步擦拭,增加清理效果,便于查表人员进行查看表数。
今年以来长江电力新获得专利授权853个,较去年同期增加了97%。结合公司2025年中报财务数据,今年上半年公司在研发方面投入了2.28亿元,同比增0.6%。
通过天眼查大数据分析,中国长江电力股份有限公司共对外投资了46家企业,参与招投标项目7363次;财产线索方面有商标信息267条,专利信息6976条,著作权信息1185条;此外企业还拥有行政许可438个。
数据来源:天眼查APP
以上内容为证券之星据公开信息整理,由AI算法生成(网信算备310104345710301240019号),不构成投资建议。
目录 返回
首页
