兖矿能源获得实用新型专利授权:“一种煤矿井下排水装置”

图片来源于网络,如有侵权,请联系删除
证券之星消息,根据天眼查APP数据显示兖矿能源(600188)新获得一项实用新型专利授权,专利名为“一种煤矿井下排水装置”,专利申请号为CN202422763549.8,授权日为2026年4月14日。
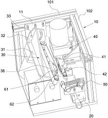
专利摘要:本申请提供一种煤矿井下排水装置,包括蓄水池,所述蓄水池的顶部固定连接进水管,所述蓄水池的一侧固定连接有溢流池,所述蓄水池远离所述溢流池的一侧连接安装箱;所述安装箱包括出水管,所述出水管一端与所述蓄水池连接,所述出水管进口端固定连接过滤网筒,所述过滤网筒远离所述出水管一端连接清理件;所述出水管远离所述蓄水池一端连接抽水件,所述抽水件远离所述出水管一端连接传动件;所述传动件另一端与电机输出端连接。通过清理件对过滤网筒外壁进行清理,避免过滤网筒外壁积聚过多的杂质而导致过滤网筒的滤孔堵塞。
今年以来兖矿能源新获得专利授权167个,较去年同期增加了111.39%。结合公司2025年年报财务数据,2025年公司在研发方面投入了33.98亿元,同比减2.89%。
通过天眼查大数据分析,兖矿能源集团股份有限公司共对外投资了60家企业,参与招投标项目25821次;财产线索方面有商标信息294条,专利信息2600条,著作权信息78条;此外企业还拥有行政许可49个。
数据来源:天眼查APP
以上内容为证券之星据公开信息整理,由AI算法生成(网信算备310104345710301240019号),不构成投资建议。
目录 返回
首页
