智投视界

中联重科获得发明专利授权:“油气悬挂液压系统及工程车辆”

04 04月
作者:小微|{/foreach}{/if}

中联重科获得发明专利授权:“油气悬挂液压系统及工程车辆”
图片来源于网络,如有侵权,请联系删除

证券之星消息,根据天眼查APP数据显示中联重科(000157)新获得一项发明专利授权,专利名为“油气悬挂液压系统及工程车辆”,专利申请号为CN202211707828.1,授权日为2026年4月3日。

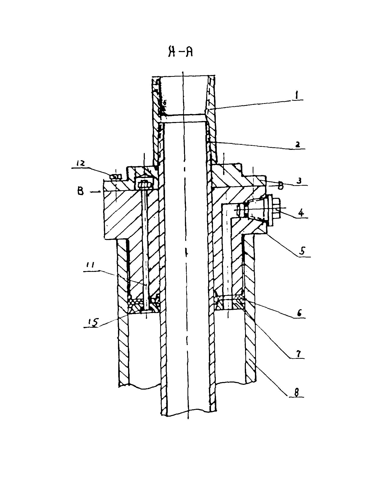
专利摘要:本发明提供一种油气悬挂液压系统及工程车辆,该油气悬挂液压系统包括左悬挂油缸组、右悬挂油缸组、第一连接油路、第二连接油路、刚柔性切换阀和组合式悬架主阀;第一连接油路连接左悬挂油缸组的有杆腔和右悬挂油缸组的无杆腔;第二连接油路连接左悬挂油缸组的无杆腔和右悬挂油缸组的有杆腔;第一连接油路和第二连接油路上均设有刚柔性切换阀;组合式悬架主阀与第一连接油路和第二连接油路均油路连通,组合式悬架主阀和刚柔性切换阀配合并控制左悬挂油缸组和右悬挂油缸组的动作或锁定。本发明通过将左右两边的悬架主阀集成为一个组合式悬架主阀,减少了主阀的配置数量,节约了主阀的安装空间,简化了液压油道及管路,加工更方便。

中联重科获得发明专利授权:“油气悬挂液压系统及工程车辆”
图片来源于网络,如有侵权,请联系删除

今年以来中联重科新获得专利授权102个,较去年同期减少了11.3%。结合公司2025年年报财务数据,2025年公司在研发方面投入了28.95亿元,同比增4.56%。

通过天眼查大数据分析,中联重科股份有限公司共对外投资了106家企业,参与招投标项目8549次;财产线索方面有商标信息1688条,专利信息9385条,著作权信息256条;此外企业还拥有行政许可752个。

数据来源:天眼查APP

以上内容为证券之星据公开信息整理,由AI算法生成(网信算备310104345710301240019号),不构成投资建议。

浏览56.9k
返回
目录
返回
首页
机构:债市回暖可期 布局窗口开启 你好,AI新职业:人工智能训练师,做好人工智能“翻译官”

Copyright © 2024 dw 版权所有

备案号: 蜀ICP备2024051291号-13

智投视界专业为您提供金融热点、数字经济、科技赋能、首发、财经新势、市价专栏等财经方面资讯,智投视界是一个专业财经领域资讯服务者。

本站部分内容为转载,不代表本站立场,如有侵权请联系处理。