拓普集团获得实用新型专利授权:“一种内嵌式单向阀”

图片来源于网络,如有侵权,请联系删除
证券之星消息,根据天眼查APP数据显示拓普集团(601689)新获得一项实用新型专利授权,专利名为“一种内嵌式单向阀”,专利申请号为CN202521188825.0,授权日为2026年3月10日。
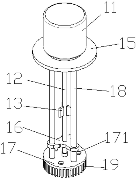
专利摘要:本实用新型涉及单向阀的技术领域,特别是涉及一种内嵌式单向阀,其使用时,将阀岛安装后,当介质经过时,介质的压力时阀门组件解除对阀座组件的密封,从而使介质通过,流动完毕后,阀针组件使阀门组件重新对阀座组件进行密封,操作简单便捷性;包括阀针组件、阀座组件、阀门组件和阀岛,所述阀岛内部设置有阀座组件,阀针组件穿过阀座组件内部并且与阀门组件连接。
今年以来拓普集团新获得专利授权25个,较去年同期减少了10.71%。结合公司2025年中报财务数据,2025上半年公司在研发方面投入了7.05亿元,同比增32.21%。
通过天眼查大数据分析,宁波拓普集团股份有限公司共对外投资了49家企业,参与招投标项目28次;财产线索方面有商标信息23条,专利信息1036条,著作权信息80条;此外企业还拥有行政许可41个。
数据来源:天眼查APP
以上内容为证券之星据公开信息整理,由AI算法生成(网信算备310104345710301240019号),不构成投资建议。
目录 返回
首页
