智投视界

中创智领获得实用新型专利授权:“相控阵扫查器装置”

10 03月
作者:小微|{/foreach}{/if}

中创智领获得实用新型专利授权:“相控阵扫查器装置”
图片来源于网络,如有侵权,请联系删除

证券之星消息,根据天眼查APP数据显示中创智领(601717)新获得一项实用新型专利授权,专利名为“相控阵扫查器装置”,专利申请号为CN202520161353.3,授权日为2026年3月10日。

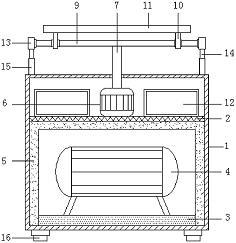
专利摘要:本实用新型提供一种相控阵扫查器装置,包括探头、支撑固定架、倒L型连接杆组件、标尺伸缩杆和竖向限位杆;所述探头可旋转连接在所述支撑固定架的一侧,所述倒L型连接杆组件连接在所述支撑固定架的顶部,所述标尺伸缩杆滑动设置在所述倒L型连接杆组件的水平段,所述竖向限位杆竖向滑动设置在所述标尺伸缩杆上。该相控阵扫查器装置能够保证探头与参考点或面的距离恒定,实现了探头与工件的耦合,满足了探头与焊缝轴线成多夹角扫查的要求。

中创智领获得实用新型专利授权:“相控阵扫查器装置”
图片来源于网络,如有侵权,请联系删除

今年以来中创智领新获得专利授权5个,较去年同期减少了44.44%。结合公司2025年中报财务数据,2025上半年公司在研发方面投入了7.9亿元,同比减2.13%。

通过天眼查大数据分析,中创智领(郑州)工业技术集团股份有限公司共对外投资了25家企业,参与招投标项目3346次;财产线索方面有商标信息191条,专利信息612条,著作权信息36条;此外企业还拥有行政许可72个。

数据来源:天眼查APP

以上内容为证券之星据公开信息整理,由AI算法生成(网信算备310104345710301240019号),不构成投资建议。

浏览49.1k
返回
目录
返回
首页
远信工业:远信转债预计触发赎回条件 银行、能源板块走强,红利ETF易方达(515180)、红利低波ETF易方达(563020)等助力布局高股息资产

Copyright © 2024 dw 版权所有

备案号: 蜀ICP备2024051291号-13

智投视界专业为您提供金融热点、数字经济、科技赋能、首发、财经新势、市价专栏等财经方面资讯,智投视界是一个专业财经领域资讯服务者。

本站部分内容为转载,不代表本站立场,如有侵权请联系处理。