智投视界

杰克科技获得发明专利授权:“一种缝纫机剪线结构、缝纫机剪线方法和缝纫机”

18 02月
作者:小微|{/foreach}{/if}

杰克科技获得发明专利授权:“一种缝纫机剪线结构、缝纫机剪线方法和缝纫机”
图片来源于网络,如有侵权,请联系删除

证券之星消息,根据天眼查APP数据显示杰克科技(603337)新获得一项发明专利授权,专利名为“一种缝纫机剪线结构、缝纫机剪线方法和缝纫机”,专利申请号为CN202211259726.8,授权日为2026年2月17日。

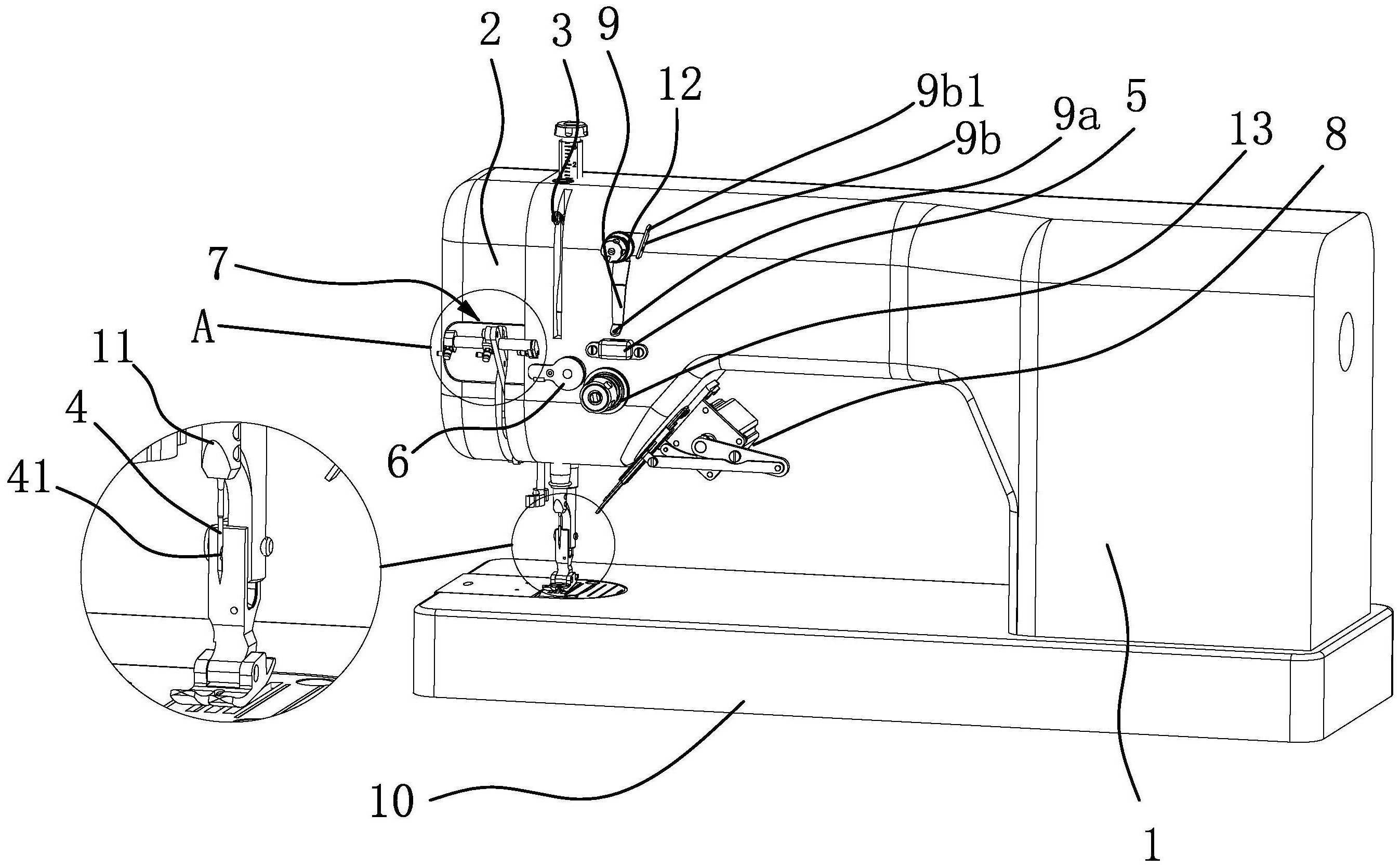
专利摘要:本发明提供一种缝纫机剪线结构、缝纫机剪线方法和缝纫机,缝纫机剪线结构包括旋梭和剪线机构,剪线机构包括主动刀,主动刀具有动刀分线尖、第一分线边、第二分线边、动刀容线槽、动刀刃口和底面线分线口;缝纫机剪线结构还包括与主动刀固定设置的分线勾,分线勾具有勾线尖部,勾线尖部分布在主动刀的内周侧、以及底面线分线口远离动刀容线槽的一侧,勾线尖部与主动刀之间有过线空间,勾线尖部与底面线分线口之间有分线容线槽,分线容线槽与过线空间相通。本申请既能避免底线线头随面线线头的抽离而从针板的落针孔冒出,又能避免再次缝纫时缝制品起缝处的底线线头过长,还能对底线线头进行限位时又不具有夹持作用,最终提升起缝时底线的上线率。

杰克科技获得发明专利授权:“一种缝纫机剪线结构、缝纫机剪线方法和缝纫机”
图片来源于网络,如有侵权,请联系删除

今年以来杰克科技新获得专利授权63个,较去年同期增加了1160%。结合公司2025年中报财务数据,2025上半年公司在研发方面投入了2.57亿元,同比增22.94%。

通过天眼查大数据分析,杰克科技股份有限公司共对外投资了22家企业,参与招投标项目300次;财产线索方面有商标信息532条,专利信息2880条,著作权信息158条;此外企业还拥有行政许可20个。

数据来源:天眼查APP

以上内容为证券之星据公开信息整理,由AI算法生成(网信算备310104345710301240019号),不构成投资建议。

浏览51.7k
返回
目录
返回
首页
铁建重工获得外观设计专利授权:“鲜食玉米收获机” 我国科学家打造出安全、抗冻、耐热新型电池

Copyright © 2024 dw 版权所有

备案号: 蜀ICP备2024051291号-13

智投视界专业为您提供金融热点、数字经济、科技赋能、首发、财经新势、市价专栏等财经方面资讯,智投视界是一个专业财经领域资讯服务者。

本站部分内容为转载,不代表本站立场,如有侵权请联系处理。