爱克股份获得实用新型专利授权:“一种RS485从设备的自动地址分配装置”

图片来源于网络,如有侵权,请联系删除
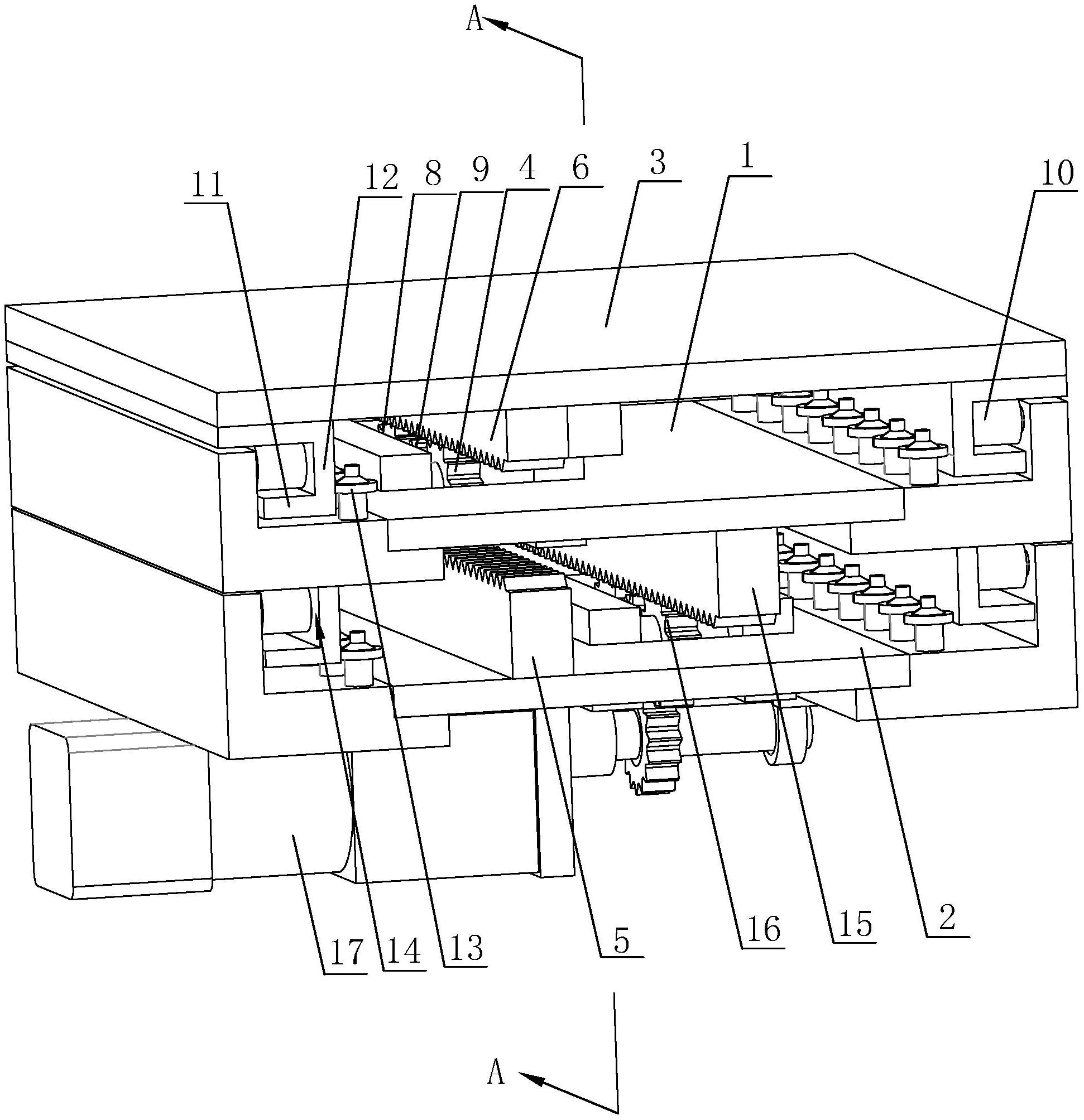
证券之星消息,根据天眼查APP数据显示爱克股份(300889)新获得一项实用新型专利授权,专利名为“一种RS485从设备的自动地址分配装置”,专利申请号为CN202520216486.6,授权日为2026年2月10日。
专利摘要:本实用新型应用于RS485从设备的地址分配领域,特别是应用于多级RS485从设备地址的自动快速分配。本实用新型的多级RS485从设备地址的自动快速分配装置通过级联连接的主控设备和多个RS485从设备,利用级联结构内部传递的电平信号实现各级别RS485从设备地址的自动分配,避免了对从设备地址进行人工分配的复杂度,提高了地址分配的准确度;并且,基于电平信号的自动判断提高了地址分配的速度;通过将AB通讯线与电平信号传递线分开设置,降低了线路中信号的干扰程度;本实用新型的装置结构简单、地址分配方式准确高效,解决了现有RS485从设备地址分配装置操作复杂、受设备限制、效率低、耗时长、不稳定的种种缺陷。

图片来源于网络,如有侵权,请联系删除
今年以来爱克股份新获得专利授权1个,较去年同期减少了50%。结合公司2025年中报财务数据,2025上半年公司在研发方面投入了2100.07万元,同比减28.08%。
通过天眼查大数据分析,深圳爱克莱特科技股份有限公司共对外投资了31家企业,参与招投标项目265次;财产线索方面有商标信息154条,专利信息638条,著作权信息40条;此外企业还拥有行政许可25个。
数据来源:天眼查APP
以上内容为证券之星据公开信息整理,由AI算法生成(网信算备310104345710301240019号),不构成投资建议。
目录 返回
首页
