格力电器获得发明专利授权:“扫风叶片、扫风机构、空调室内机及控制方法”

图片来源于网络,如有侵权,请联系删除
证券之星消息,根据天眼查APP数据显示格力电器(000651)新获得一项发明专利授权,专利名为“扫风叶片、扫风机构、空调室内机及控制方法”,专利申请号为CN202211183807.4,授权日为2026年2月6日。
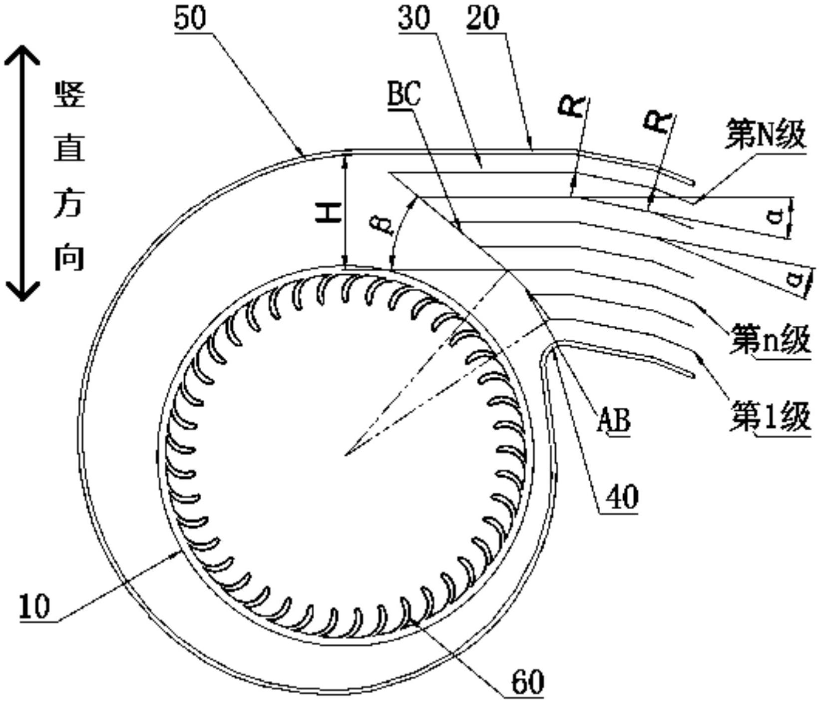
专利摘要:本发明提供了一种扫风叶片、扫风机构、空调室内机及控制方法,扫风叶片用于设置在出风口处,扫风叶片可摆动地设置以进行扫风,扫风叶片包括扫风叶片本体,扫风叶片本体包括:扫风叶片主体,具有通孔;导流部,与扫风叶片主体连接,导流部具有导流面,导流面为环形结构;沿导流面的中心线的延伸方向,导流面的垂直于其中心线的截面的半径逐渐增大;导流部与通孔内壁之间形成流通通道,以使进入流通通道的气体沿导流面流动。本发明的扫风叶片解决了现有技术中的空调室内机器的冷风直吹人体,造成舒适性体验较差的问题。

图片来源于网络,如有侵权,请联系删除
今年以来格力电器新获得专利授权1135个,较去年同期增加了140.47%。结合公司2025年中报财务数据,2025上半年公司在研发方面投入了39.18亿元,同比增10.92%。
通过天眼查大数据分析,珠海格力电器股份有限公司共对外投资了98家企业,参与招投标项目34482次;财产线索方面有商标信息8218条,专利信息121276条,著作权信息300条;此外企业还拥有行政许可908个。
数据来源:天眼查APP
以上内容为证券之星据公开信息整理,由AI算法生成(网信算备310104345710301240019号),不构成投资建议。
目录 返回
首页
