河钢股份获得实用新型专利授权:“一种钢板网格应变实验的打标板固定装置”

图片来源于网络,如有侵权,请联系删除
证券之星消息,根据天眼查APP数据显示河钢股份(000709)新获得一项实用新型专利授权,专利名为“一种钢板网格应变实验的打标板固定装置”,专利申请号为CN202520406779.0,授权日为2026年1月23日。
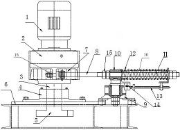
专利摘要:一种钢板网格应变实验的打标板固定装置,属于钢板网格应变实验设备技术领域,用于在钢板网格应变实验中对打标板进行固定。其技术方案是:磁力表座的侧壁有螺孔,连杆为圆钢杆,连杆的一端有螺纹与磁力表座的侧壁的螺孔相连接,上压板水平放置,连杆的另一端与上压板相连接,下压板水平放置在上压板的下方,多个弹簧位于上压板与下压板之间,多个弹簧的两端分别与上压板的下表面和下压板的上表面相连接,磁力表座的底面放置在网格应变实验的钢板上,下压板的下表面放置在打标板的上表面。本实用新型结构简单、使用方便,可以在钢板网格应变实验打标过程中对打标板进行固定,打标板固定稳定,定位快,能够有效提高打标效率。

图片来源于网络,如有侵权,请联系删除
今年以来河钢股份新获得专利授权11个,较去年同期增加了120%。结合公司2025年中报财务数据,2025上半年公司在研发方面投入了9.39亿元,同比增3.09%。
通过天眼查大数据分析,河钢股份有限公司共对外投资了39家企业,参与招投标项目1840次;财产线索方面有商标信息13条,专利信息1492条,著作权信息65条;此外企业还拥有行政许可4个。
数据来源:天眼查APP
以上内容为证券之星据公开信息整理,由AI算法生成(网信算备310104345710301240019号),不构成投资建议。
目录 返回
首页
