南方航空获得实用新型专利授权:“一种用于ABS0336螺钉的安装工具”

图片来源于网络,如有侵权,请联系删除
证券之星消息,根据天眼查APP数据显示南方航空(600029)新获得一项实用新型专利授权,专利名为“一种用于ABS0336螺钉的安装工具”,专利申请号为CN202422866742.4,授权日为2025年11月11日。
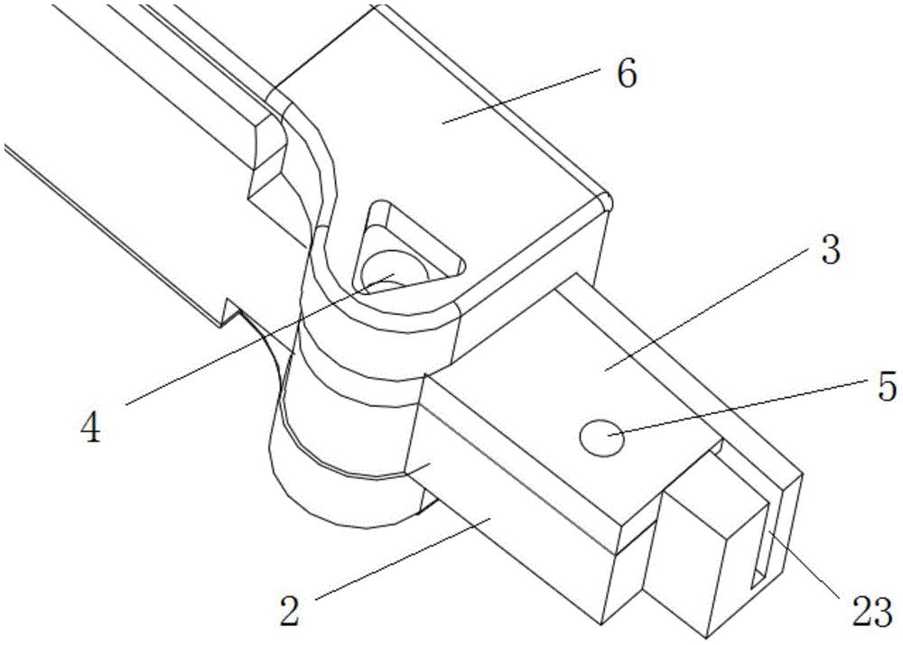
专利摘要:本实用新型公开了一种用于ABS0336螺钉的安装工具,包括夹具,所述夹具包括活动连接的第一部分和第二部分,所述第一部分端部设置有第一端头,所述第二部分端部设置有第二端头;所述第一部分与所述第二部分相对设置,所述第一端头与所述第二端头上安装有磁铁,所述第一端头通过磁铁吸附ABS0336螺钉与垫片,所述第二端头通过磁铁吸附防松垫圈。通过本申请提供的工具,节省人工成本,使用磁铁吸附功能解放部分需要两人的施行的防松垫圈安装工作简化为个人完成,节省人力;改变了传统的手工安装模式,通过不断校准实验实现了标准化的单手安装操作,大大节省了安装更换防松垫圈时间。

图片来源于网络,如有侵权,请联系删除
今年以来南方航空新获得专利授权71个,较去年同期增加了51.06%。结合公司2025年中报财务数据,今年上半年公司在研发方面投入了2.7亿元,同比增9.31%。
通过天眼查大数据分析,中国南方航空股份有限公司共对外投资了70家企业,参与招投标项目25441次;财产线索方面有商标信息131条,专利信息369条,著作权信息380条;此外企业还拥有行政许可168个。
数据来源:天眼查APP
以上内容为证券之星据公开信息整理,由AI算法生成(网信算备310104345710301240019号),不构成投资建议。
目录 返回
首页
