南 玻A获得实用新型专利授权:“一种导气装置及熔窑烟气净化设备”

图片来源于网络,如有侵权,请联系删除
证券之星消息,根据天眼查APP数据显示南 玻A(000012)新获得一项实用新型专利授权,专利名为“一种导气装置及熔窑烟气净化设备”,专利申请号为CN202422018558.4,授权日为2025年7月15日。
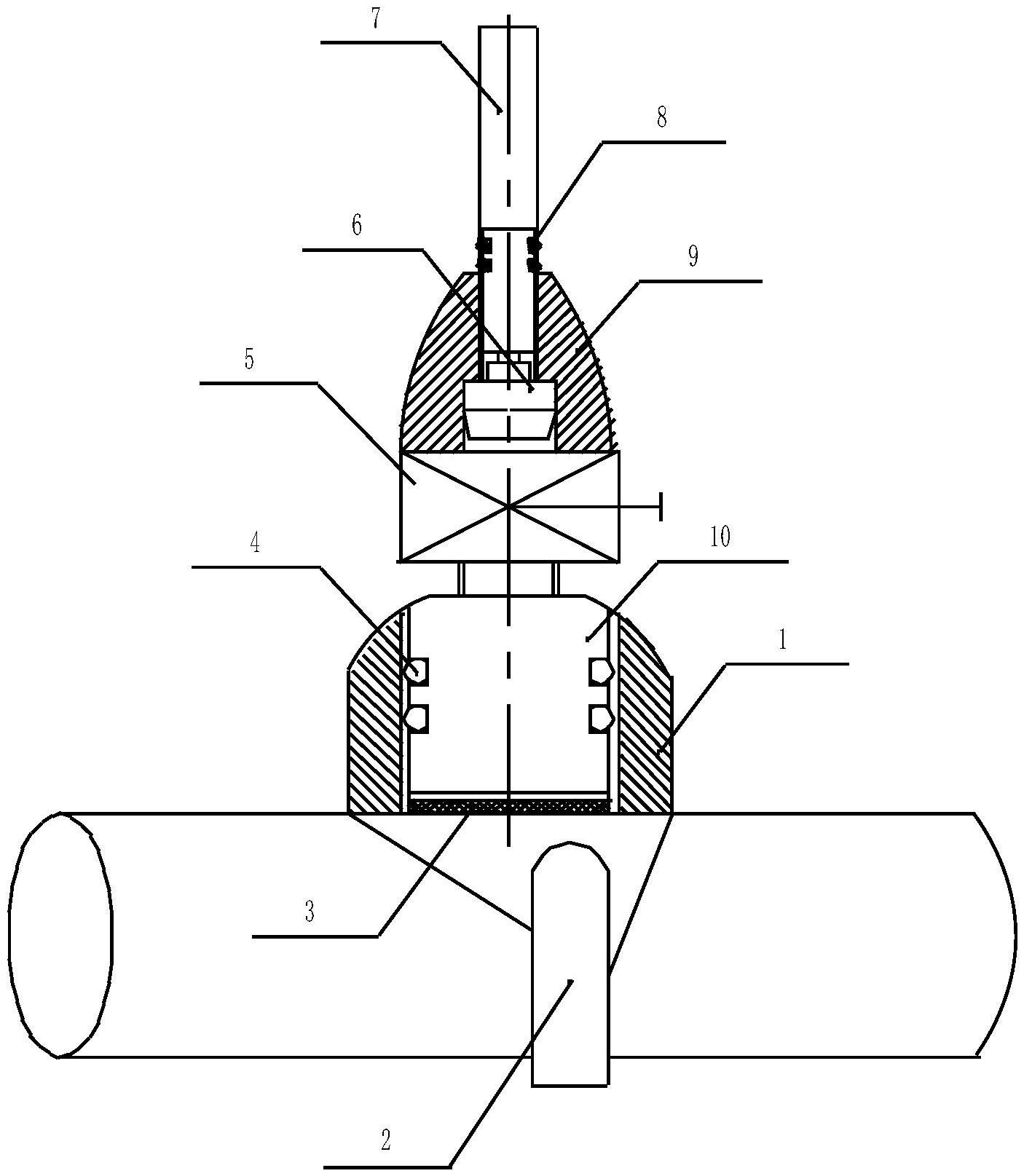
专利摘要:本实用新型公开了一种导气装置及熔窑烟气净化设备,导气装置包括导气部和出气部,导气部限定出导气通道,且导气部设有连通导气通道的导气口。在一些实施方式中,导气部能够连通外部气源。出气部连接于导气部,出气部限定出出气通道,该出气通道一端为出气口,另一端连通导气口,出气口面向滤管组件,以使吹扫气体导向滤管组件实现滤管组件表面清灰的效果。其中,出气部还设有进气口,该进气口位于导气口与出气口之间,且进气口连通出气通道。出气部周侧的气体能够经进气口进入出气通道,增强吹扫效果。确保了在吹扫过程中,外部气体能够补充到出气通道中,提高吹扫效率,防止滤管组件表面粉尘堆积而影响净化效果。
今年以来南 玻A新获得专利授权114个,较去年同期减少了16.18%。结合公司2024年年报财务数据,2024年公司在研发方面投入了6.11亿元,同比减17.29%。
通过天眼查大数据分析,中国南玻集团股份有限公司共对外投资了50家企业,参与招投标项目201次;财产线索方面有商标信息159条,专利信息2246条,著作权信息4条;此外企业还拥有行政许可6个。
数据来源:天眼查APP
以上内容为证券之星据公开信息整理,由AI算法生成(网信算备310104345710301240019号),不构成投资建议。
目录 返回
首页
