柳 工获得实用新型专利授权:“销轴抓取工装”

图片来源于网络,如有侵权,请联系删除
证券之星消息,根据天眼查APP数据显示柳 工(000528)新获得一项实用新型专利授权,专利名为“销轴抓取工装”,专利申请号为CN202422071519.0,授权日为2025年7月22日。
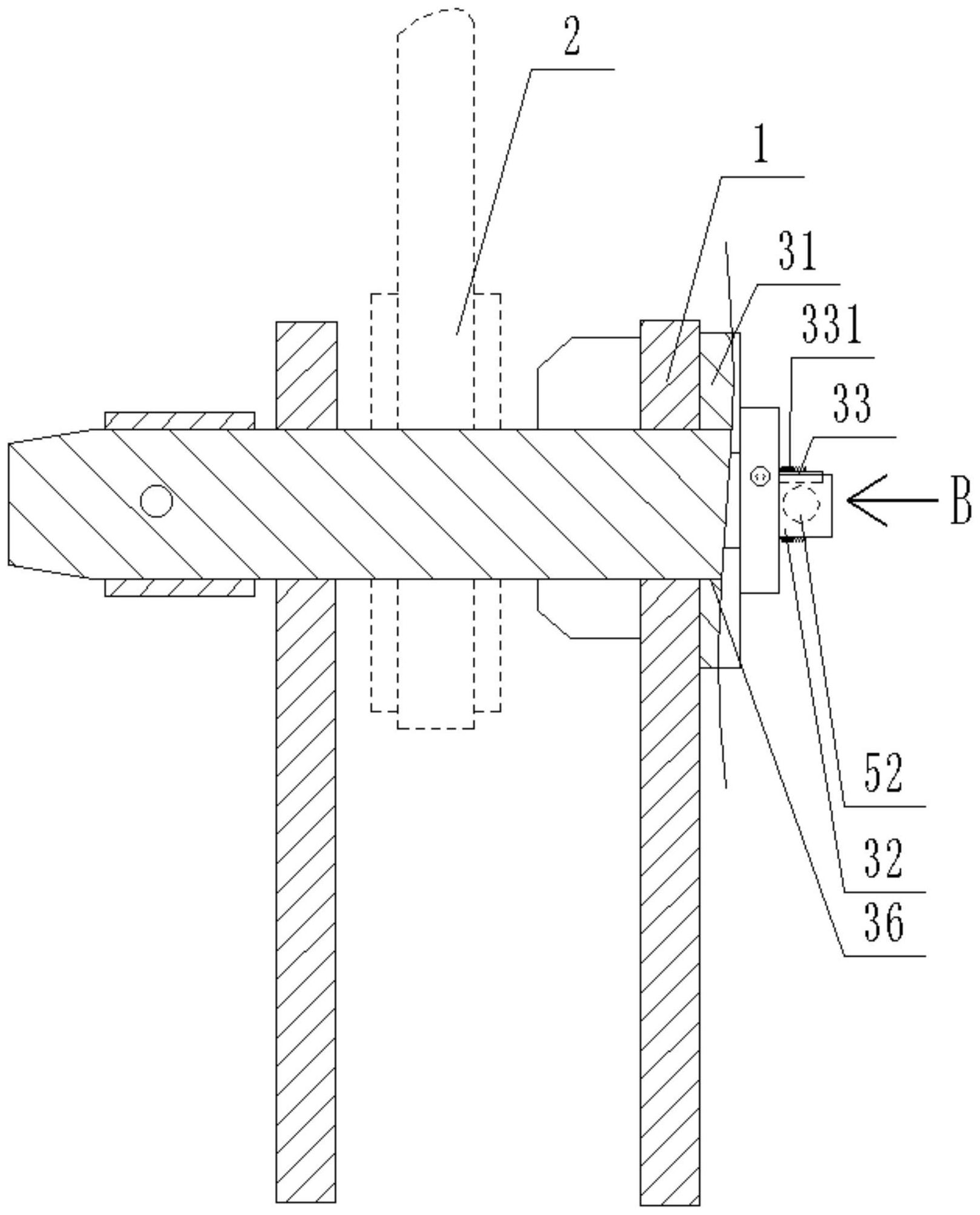
专利摘要:本实用新型涉及工装装置,为解决工程机械中铰接销轴在装配过程中抓取托举的问题,本实用新型构造一种销轴抓取工装,其包括支架、回转臂、升降臂、两副夹钳6等,回转臂通过竖向销轴与所述支架转动连接;升降臂的转动端通过水平销轴与所述回转臂铰接,在升降臂与回转臂之间设置有升降助力缸;两副夹钳沿升降臂的长度方向间隔布置并位于所述升降臂下方;夹钳钳口朝下开闭布置;夹钳钳口闭合时两夹钳具有同轴布置销轴夹持空间。本实用新型销轴抓取工装为悬挂式,方便抓取销轴和销轴的安装。

图片来源于网络,如有侵权,请联系删除
今年以来柳 工新获得专利授权127个,较去年同期增加了30.93%。结合公司2024年年报财务数据,2024年公司在研发方面投入了11.41亿元,同比增25.85%。
通过天眼查大数据分析,广西柳工机械股份有限公司共对外投资了38家企业,参与招投标项目1155次;财产线索方面有商标信息88条,专利信息2770条,著作权信息144条;此外企业还拥有行政许可525个。
数据来源:天眼查APP
以上内容为证券之星据公开信息整理,由AI算法生成(网信算备310104345710301240019号),不构成投资建议。
目录 返回
首页
