华菱线缆获得实用新型专利授权:“一种电缆故障检测设备”

图片来源于网络,如有侵权,请联系删除
证券之星消息,根据天眼查APP数据显示华菱线缆(001208)新获得一项实用新型专利授权,专利名为“一种电缆故障检测设备”,专利申请号为CN202421455674.6,授权日为2025年7月15日。
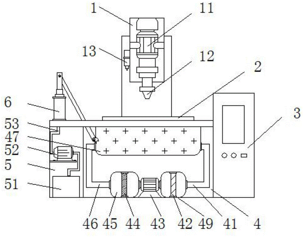
专利摘要:本实用新型公开了一种电缆故障检测设备,属于电缆故障检测设备技术领域,其包括:侧箱,侧箱的右侧固定连接有工作板,侧箱的右侧设置有矩形槽,矩形槽的内部滑动连接有两个夹持板,侧箱的顶部固定连接有顶板,顶板的底部固定连接有检测设备本体,侧箱的内壁底部固定连接有圆柱体,圆柱体的外部转动连接有圆盘,圆盘的顶部两侧均转动连接有连杆,两个夹持板的左侧均固定连接有矩形板,两个连杆相互远离的一侧均转动连接在对应矩形板的底部,位于前侧矩形板的前侧固定连接有镂空套筒,本实用新型结构设计合理,通过圆盘、镂空套筒、丝杆和夹持板的配合实现了对物件的夹持功能,避免了在检测过程中物件发生偏移导致检测失败。
今年以来华菱线缆新获得专利授权29个,较去年同期增加了38.1%。结合公司2024年年报财务数据,2024年公司在研发方面投入了1.34亿元,同比增17.03%。
通过天眼查大数据分析,湖南华菱线缆股份有限公司共对外投资了1家企业,参与招投标项目3924次;财产线索方面有商标信息4条,专利信息477条;此外企业还拥有行政许可1420个。
数据来源:天眼查APP
以上内容为证券之星据公开信息整理,由AI算法生成(网信算备310104345710301240019号),不构成投资建议。
目录 返回
首页
