鹏鼎控股获得发明专利授权:“电路板及其制造方法”

图片来源于网络,如有侵权,请联系删除
证券之星消息,根据天眼查APP数据显示鹏鼎控股(002938)新获得一项发明专利授权,专利名为“电路板及其制造方法”,专利申请号为CN202110453988.7,授权日为2025年7月11日。
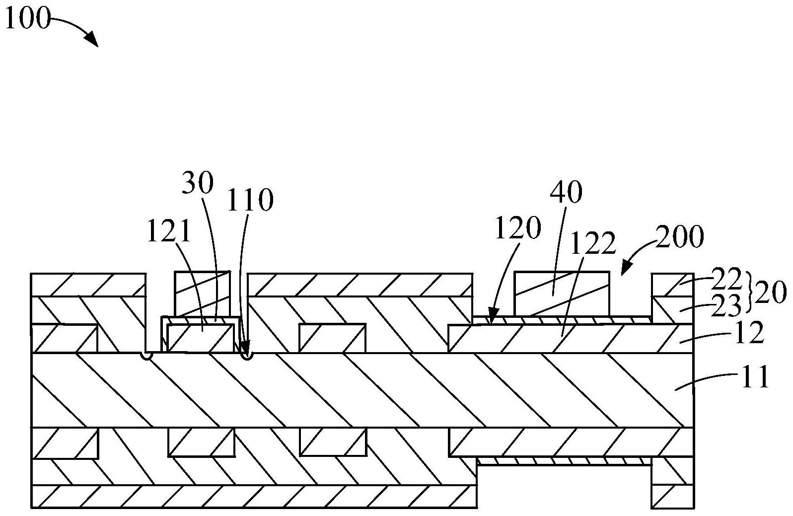
专利摘要:本申请提出一种电路板,包括导热组件、发热件及基板单元,发热件通过导热组件设置于基板单元。基板单元设置有第一开槽及第二开槽,第一开槽设置于基板单元的一侧,第二开槽设置于基板单元的另一侧,第一开槽与第二开槽相连通。导热组件包括多个导热柱及导热剂,多个导热柱相距设置于第一开槽内,相邻两个导热柱之间具有储液槽,导热剂填入储液槽内。发热件安装于第二开槽内,发热件连接导热柱,发热件与导热剂之间存在空腔。本申请提供的电路板能够提高对发热件的散热效率。另外,本申请还提供一种电路板的制造方法。
今年以来鹏鼎控股新获得专利授权30个,较去年同期减少了33.33%。结合公司2024年年报财务数据,2024年公司在研发方面投入了23.24亿元,同比增18.79%。
通过天眼查大数据分析,鹏鼎控股(深圳)股份有限公司共对外投资了15家企业,参与招投标项目36次;财产线索方面有商标信息23条,专利信息1506条,著作权信息21条;此外企业还拥有行政许可291个。
数据来源:天眼查APP
以上内容为证券之星据公开信息整理,由AI算法生成(网信算备310104345710301240019号),不构成投资建议。
目录 返回
首页
